我公司可設計并定制新聞中提到的‘熱流傳感器’。
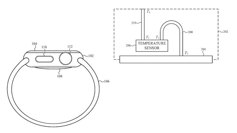
MyHealthyApple 發現了蘋果這項新授予的專利,該專利已向美國專利商標局提交,標題為“Temperature gradient sensing in electronic devices”(電子設備中的溫度梯度感應 )。雖然該專利的措辭表明它可以應用于任何設備,但該專利插圖中描述的唯一設備顯然是 Apple Watch,這可能暗示了蘋果對該技術的具體應用。

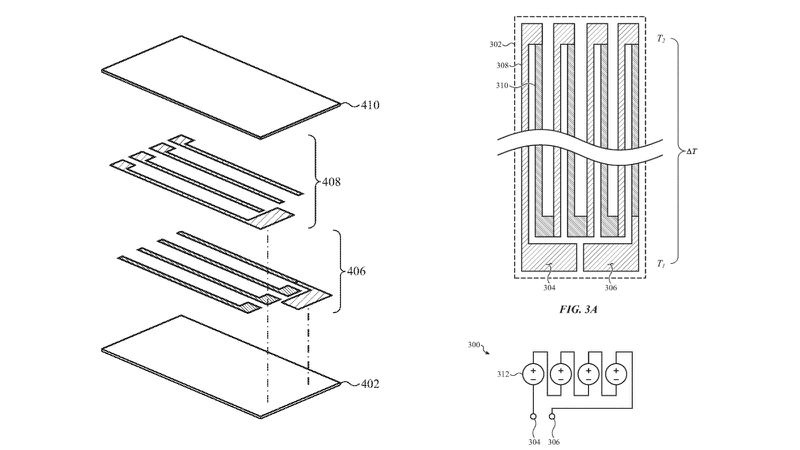
蘋果的專利保護展示了一種電子設備外殼,該外殼包含溫度傳感系統,該系統包括一個溫度傳感器和一個溫差探頭。該系統通過計算探頭兩端之間的差異來工作。一端接觸待測表面,另一端連接溫度傳感器。然后可以將探頭不同端的電壓差與溫差測量相關聯。

“溫度探針被配置為產生與探針的第一端和探針的第二端之間的溫度梯度相對應的電壓。溫度傳感器可以設置在電子設備外殼內。探針的第一端可以耦合到溫度傳感器,探針的第二端可以耦合到電子設備的任何合適的表面,無論是內部的還是外部的…… 在這種結構中,溫度傳感器可以配置為以任何給定的采樣時間或采樣率測量傳感表面所暴露的任何表面或體積的溫度。”
該專利繼續詳細解釋溫度傳感硬件的工作原理。更重要的是,雖然該專利涵蓋了如何在設備內部使用專用溫度傳感器來監測處理器等組件的溫度,但它表示該傳感器可用于測量外表面(如皮膚)的“絕對溫度” 。
最值得注意的是,蘋果明確提到外部探頭的位置可能位于“背面,例如智能手表的背面晶體”,并表示該系統包括“高精密和高精度絕對溫度傳感器”。該專利概述了溫度傳感器的幾種潛在形狀和布置,其中一個引人注目的設計是十字形溫度探頭。
據分析師郭明錤稱,蘋果原本打算在“Apple Watch Series 7”設備上提供體溫測量功能,但在工程驗證測試 (EVT) 階段,由于開發的體溫算法未能滿足要求,蘋果公司擱置了該計劃。。
蘋果在體溫測量方面遇到的問題,據稱與皮膚溫度會根據環境迅速變化這一事實有關,而且由于智能手表無法使用硬件監測核心體溫,因此該功能在很大程度上依賴于產生準確結果的算法。該專利僅涵蓋溫度傳感系統的硬件設置,而不是產生準確結果所需的算法。

雖然蘋果的專利申請不能被視為該公司確切計劃的具體證據,因為它的許多專利從未被使用過,但它們確實顯示了其研發領域方向,有時還準確揭示了即將推出的產品,例如 AirTag 追蹤器。
此前有很多關于 Apple Watch Series 8 提供體溫傳感器的爆料。報告表明,雖然該設備不太可能提供準確的體溫測量,但該傳感器將用于提供至少兩個新的健康監測功能。
《華爾街日報》和彭博社 Mark Gurman 表示,體溫傳感器將有助于生育計劃,讓女性了解她們的排卵周期。蘋果近年來一直專注于女性健康,因此在該領域擴展功能似乎符合公司的目標。
此外,體溫傳感器可用于改善跟蹤睡眠時的模式檢測。蘋果從 Apple Watch Series 6 開始在睡眠期間利用血氧感應功能,并在 watchOS 9 中顯著增強 Apple Watch 睡眠跟蹤功能,這意味著今年可能會在硬件幫助下進一步改進這一領域。
爆料稱,蘋果還計劃允許體溫傳感器檢測用戶何時發燒,但該功能似乎不太可能在“Apple Watch Series 8”推出時提供。Gurman 認為,在更遠的未來,Apple Watch 型號可以檢測用戶體溫是否高于正常水平,但仍不太可能顯示出準確的測量值。
